Magnet Kering Dan Magnet Basah

11:31

Pedoman magnet kering, sesuai penjelasan terdahulu bahwa jenis pedoman ini tidak menggunakan zat cair untuk keseimbanga piringan pedoman nya.

Pedoman magnet kering di mana batang-batang magnet di paang sejajar satu sama lain dan di gantungkan di bawah mawar pedoman dengan menggunakan benang sutra sehingga dapat bergerak bebas secara horizontal. Adapun bagian-bagian utama pedoman magnet kering adalah :
            A. Piringan pedoman 
            B. Ketel pedoman 
            C. Cicin lenja
            D. Rumah pedoman


Gambar di bawah ini merupakan penampang tegak sebuah pedoman magnet kering.

Ket
a. Katel
b. Tutup Kaca
c. Kaca Baur
d. Pena ( Semat )
e. Ujung Semat yang di lengkapi iridium
f. Sungkup dari aluminium
g. Batu Nilam dalam sungkup
h. Pinggiran dari aluminium
i. Benang Sutra
k. Batang Magnet
m. Cincin Lenza



         Gambar Pedoman Kering



Pedoman magnet basah, pada pedoman ini kecil pedomannya terbuat dari bulatan torak yang harus benar-benar kedap air dan kedap udara. Pada bagian atas di pasang sebuah kaca bening bulat agara pada saat pembaca angka-angka skala derjat daat terbaca dengan jelas sedangkan tutp pada bagian bawah berupa kaca baur pandang supaya sinar lampu yang di pasang di bawahnya dapat menerangii angka - angka skala derjad. Secara umum fungsi cairan yang ada di dalam ketel yaitu untuk merendam getaran - getaran kapal sehingga piringan pedoman lebih tenang dan juga dapat mengungi kemungkinan kerusakan pada semat dan mawar pedoman.
       Cairan ketel pedoman terdiri air mawar murni dengan persentase 57% sampai 80% sedangkan alkohol murni 100% dengan persentase 20% sampai 25%.
ruangan dalam ketel pedoman tidak boleh terisi udara karena akan mengakibatkan korosif bagian dalam ketel selain itu juga dapat mengurangi ketenangan piringan pedoman. Apabila ada perubahan cuaca antar panas dan dingin rongga udara ketel pedoman dapat mengakibatkan pedoman berubah bentuk atau dapat melengkung.

Mamfaat campuran alkhol di dalam pedoman magnet adalah
     ➤  Untuk menurunkan titk beku air, hal ini sangat berguna apabila pedoman digunakan di tempat -  tempat pada lintang tinggi atau di daerah yang mengalami misum dingin sehingga kemungkinan cairan pedoman tiddak membeku.
     ➤  Untuk mengurangi kemungkinan korosif dari bagian - bagian dalam ketel pedoman.



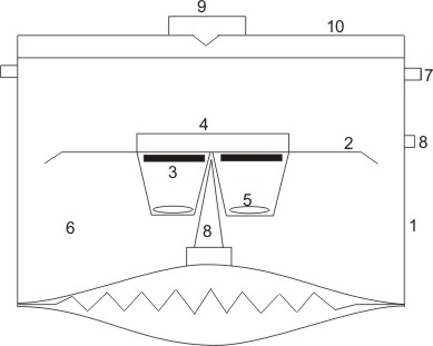
Gambar Penampak Tegak Peoman Magnet Basah

















Penjelasan Gambar
1. Ketel pedoman tempat bagi seluruh bagian - bagian kompas, umumnya terbuat dari kuningan atau penggunanya.
2. Piring pedoman tempat penulisan skala derajat kompas dan arah mata angin.
3. Batangan Magnet kekuatan yang mengarahkan arah utara dan piring pedoman agar tetap rata.
4. Pemberat pengaturan terhadap gaya gravitasi untuk membuat piring edoan cepat kembali pada posisi tegak bila terjadi guncangan.
5. Pelampung mengapungkan dan menjaga kestabilan posis dari piring pedoman agar tetap rata.
6. Cairan ( alcohol 75% dan 25% ) berfungsi untuk :
         a. Tidak mudah menjadi pengkaratan.
         b. Cairan tidak mudah membeku.
         c. Cairan tidak mudah menguap.
         d. Menjaga cat pada kompas agar tidak terkelupas.
7. Cincin Lenja pengaturan keseimbangan pada kompas agar tidak terkelupas posisi tegak walaupun kapal dalam posisi seimbang.
8. Batang Semat tegak lurus di tengah - tengah bagian bawah piringan pedoman, yang merupakan pengatur keseimbangan terhadap kedudukan pelampung, pemberat dan batang magnet.
9. Tempat dudukan alat baring ( pesawat penjara celah ).
10. Kaca penutup sebagian penutup bagian dalam.


Pada intinya kegunanya sama di atas kapal tetapi di atas kapal niaga lebih banyak menggunakan kompas magnet basah karena perawatannya lebih mudah di imbangkan dengan kompas magnet kering, perbedaan utamanya hanya terletak pada :
       
*Piringan Pedoman magnet besah terapung dalam suatu cairan, sedankan
*Piringan Pedoman magnet kering menggunakan cairan.

Pada bagian tutup alas di beripemberat gunanya untuk menambah ketenangan ketel pedoman. Karena selama pelayaran kapal pasti kan mengalami perubahan - perubahan suhu yang cukup besar maka cairan dalam ketel pedoman akan dapat ikut berubah suhunya dengan demikian cairan tersebut sekali waktu akan memuai, untuk mencegah takanan cairan di dalam ketel pedoman bertambah maka ketel pedoman di lengkapi dengan sebuah tromol pemuai untuk menampung lkelebihan cairan akibat pemuaian tersebut.
Disamping tromol pemuai tersebut bagian bawah ketel juga di buat bergelombang untuk membantu mengatasi atau menerima pemuaian tersebut dengan demikian tidak terjadi perubahan letak dari duduk semat.


Artikel Terkait

Previous
Next Post »